음향:electric_circuit:solid_state:vca:dbx202
[홈레코딩 필독서]"모두의 홈레코딩"구매링크
가성비 있는 녹음실 찾으시나요? 리버사이드 재즈 스튜디오에서 녹음하세요!
[공지]회원 가입 방법
[공지]글 작성 및 수정 방법
dbx202
dbx202 칩은 1970년대 초 dbx(데이비드 블랙머의 회사)에서 개발한 “블랙캔(Black Can)“ 또는 “골드캔(Gold Can)“ 형태의 하이브리드 VCA(Voltage Controlled Amplifier, 전압 제어 증폭기) 칩입니다. 이 칩은 최초로 프로 오디오에 적합한 정밀 VCA 회로인 Blackmer gain cell을 활용한 제품으로, 당시로서는 매우 넓은 다이내믹 레인지와 낮은 왜곡을 제공해 콘솔, 컴프레서 등 다양한 프로 장비에 널리 사용되었습니다.
특징
- 모델 구분: dbx202(블랙캔), dbx202C(골드캔, 향상된 버전), dbx2001(클래스A 버전) 등으로 발전.
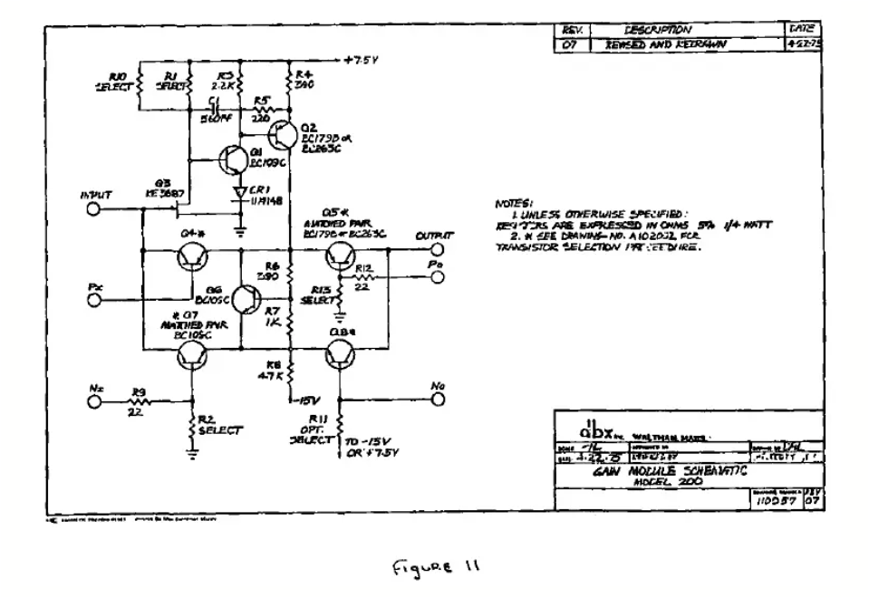
Schematic
dbx202와 SSL 버스 컴프레서, dbx 컴프레서
dbx202의 현재와 대체
- 희귀성: dbx202 칩은 생산이 중단되어 현재는 매우 구하기 어렵고, 가격도 높으며, 제조 공정이 여전히 비공개입니다.
로그인하면 댓글을 남길 수 있습니다.
[공지]회원 가입 방법
[공지]글 작성 및 수정 방법
음향/electric_circuit/solid_state/vca/dbx202.txt · 마지막으로 수정됨: 저자 정승환





