
instrument_wiki:마이크로폰:akg:akg_c2000b
[홈레코딩 필독서]"모두의 홈레코딩"구매링크
가성비 있는 녹음실 찾으시나요? 리버사이드 재즈 스튜디오에서 녹음하세요!
[공지]회원 가입 방법
[공지]글 작성 및 수정 방법
AKG C2000B
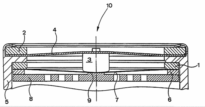
AKG C2000B는 고정 카디오이드 패턴을 가진 일렉트렛 콘덴서 마이크로, 약 13mm 직경의 미니어처 캡슐을 탑재한 모델입니다. 캡슐 설계는 특허1)에 기반하며, 중앙부가 후면판에 가까워지는 ‘절단 원뿔(truncated cone)’ 형태의 다이어프램 구조로 저역 응답을 향상시킨 점이 특징입니다.
주요 특징 및 사양
활용 및 평가
로그인하면 댓글을 남길 수 있습니다.
[공지]회원 가입 방법
[공지]글 작성 및 수정 방법
instrument_wiki/마이크로폰/akg/akg_c2000b.txt · 마지막으로 수정됨: 저자 127.0.0.1



