instrument_wiki:무선:regency_tr-1
[홈레코딩 필독서]"모두의 홈레코딩"구매링크
가성비 있는 녹음실 찾으시나요? 리버사이드 재즈 스튜디오에서 녹음하세요!
[공지]회원 가입 방법
[공지]글 작성 및 수정 방법
Regency TR-1
Regency TR-1은 1954년 출시된 세계 최초의 상업용 트랜지스터 라디오입니다. 성능은 평범했지만 작은 크기와 휴대성이라는 참신함 덕분에 약 15만 대가 판매되었습니다. 이 제품은 군사용 또는 산업용으로만 사용되던 트랜지스터가 소비자 가전제품에도 유용하게 사용될 수 있음을 보여주며, 계산기, 휴대폰, 태블릿 등으로 발전할 소형 휴대용 장치로 가득 찬 미래를 예견했습니다.
개발 배경
- TI의 목표: TI는 라디오 제조에는 관심이 없었고, 트랜지스터에 대한 수요를 늘려 개당 가격을 10~15달러에서 낮추는 것이 목표였습니다.
디자인
- 색상 및 크기: TR-1은 처음에는 검은색, 뼈 흰색, 만다린 빨간색 및 구름 회색으로 제공되었으며, 나중에는 드물게 올리브 녹색, 마호가니로 제공되었고 결국에는 라벤더, 진주 흰색, 청록색, 분홍색 및 라임을 포함한 희귀한 색상으로 제공되었습니다. 크기는 3“ × 5” × 1.25“ (7.62 × 12.7 × 3.2 cm)로 광고되었고, 22.5볼트 배터리를 포함하여 12온스(340g)였습니다.
기술적 설계
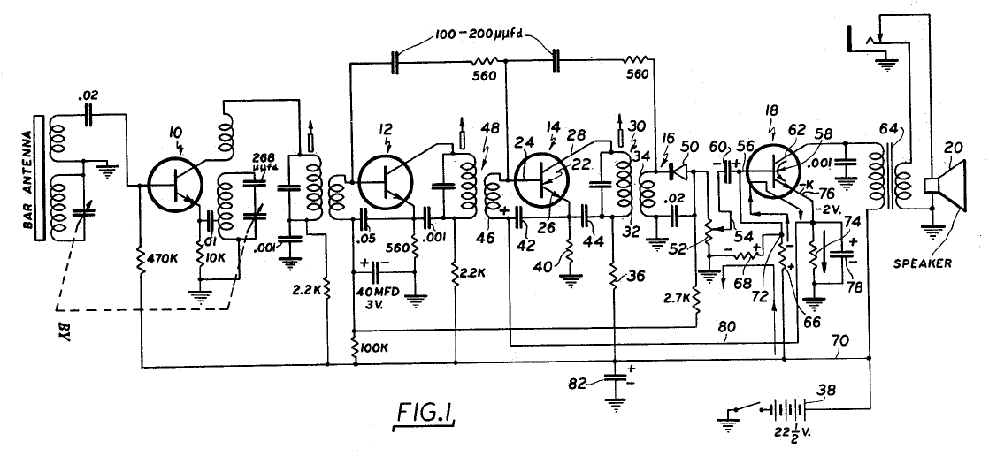
- 특허: Regency TR-1은 I.D.E.A.의 프로젝트 엔지니어 Richard C. Koch에 의해 특허를 받았습니다.
제조
Regency는 1954년 10월 25일에 TR-1 조립을 시작하여 미국 전역의 제조업체의 공동 노력을 감독했습니다.
유산
- 판매량: TR-1 출시 1년 후 판매량은 10만 대에 육박했습니다.
로그인하면 댓글을 남길 수 있습니다.
[공지]회원 가입 방법
[공지]글 작성 및 수정 방법
instrument_wiki/무선/regency_tr-1.txt · 마지막으로 수정됨: 저자 40.77.167.4




