instrument_wiki:마이크로폰:neumann:u47
[홈레코딩 필독서]"모두의 홈레코딩"구매링크
가성비 있는 녹음실 찾으시나요? 리버사이드 재즈 스튜디오에서 녹음하세요!
[공지]회원 가입 방법
[공지]글 작성 및 수정 방법
Neumann U47
Neumann CMV3 마이크의 M7 캡슐 기술을 기반으로 만들어진 최초의 멀티 패턴 마이크
오리지널 U47은 Georg Neumann이 제2차 세계대전 후 설계하고 제조한 최초의 Neumann 마이크였습니다.(회사가 베를린에서 Gefell로 이동했다가 다시 베를린으로 돌아온 후) U47은 또한 최초로 패턴을 전환할 수 있는 콘덴서 마이크였으며, 무지향성과 단일지향성 패턴을 가지고 있었습니다.
U47은 많은 사람들이 최고의 보컬 마이크 중 하나로 숭배하고 있습니다. The Beatles의 프로듀서인 George Martin은 U47을 자신의 가장 좋아하는 마이크로 언급하기도 했습니다. 많은 사람들이 그의 의견에 동의하며, 많은 제조사들이 이 전설적인 특성을 재현하려고 시도해 왔습니다.
U47은 항상 Neumann에 의해 제조되었습니다. 그러나 초기에는 Telefunken이 Neumann 마이크를 독점 유통8)했기 때문에, 많은 초기 U47에는 Neumann 로고 대신 Telefunken 로고가 있습니다. 1950년대 후반부터 Neumann이 자체 유통을 담당하게 되면서부터 새로 제작된 모든 U47에는 Neumann 로고가 새겨졌습니다.
- 진공관 : Telefunken VF14(스틸 커버)
- Self-Noise : N/A
M7/K47 캡슐
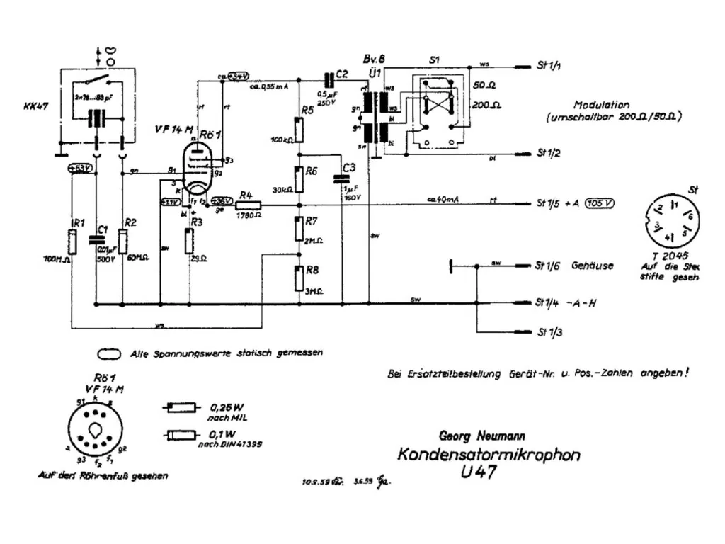
Schematic
Reference
로그인하면 댓글을 남길 수 있습니다.
[공지]회원 가입 방법
[공지]글 작성 및 수정 방법
instrument_wiki/마이크로폰/neumann/u47.txt · 마지막으로 수정됨: 저자 52.167.144.217







